PCF8563T/5,518
PCF8563T/5,518-一般描述
PCF8563 是 CMOS1实时时钟(RTC)和日历针对低功耗进行了优化。还提供可编程时钟 输出、中断输出和低电压检测器。所有地址和数据都通过两行双向 I 串行传输 2C-bus。最 大总线速度为 400 kbit/s。寄存器地址在每个写入或读取数据字节后自动增加。
PCF8563T/5,518-特点和好处
提供年、月、日、工作日、小时、分钟和秒基于 32.768 kHz 石英晶体
世纪旗
时钟工作电压:室温下 1.0V 至 5.5V
低备份电流;典型 0.25A 在 V 女儿= 3.0 V 和 T 安 布= 25字母 C
400 kHz 双线 I 2C 总线接口(在 V 女儿= 1.8 V 至 5.5 V)
外围设备的可编程时钟输出(32.768 kHz、1.024 kHz、32 Hz 和 1 Hz)
警报和计时器功能
集成振荡器电容器
内部开机重置(POR)
我 2C-bus 从属地址:读取 A3h 并写入 A2h
开放管中断引脚
PCF8563T/5,518-应用
移动电话
便携式仪器
电子计量
电池供电产品
PCF8563T/5,518-订购信息

PCF8563T/5,518-印

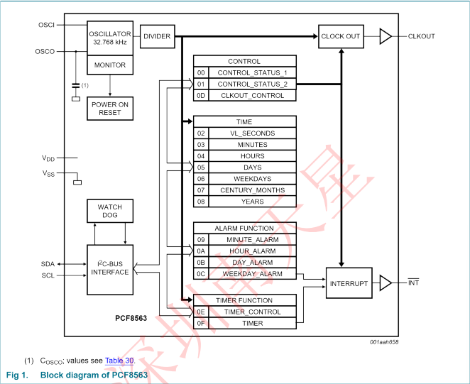
PCF8563T/5,518-方框图

PCF8563T/5,518-固定信息

PCF8563T/5,518-功能描述
PCF8563 包含 16 个带有自动增量寄存器地址的 8 位寄存器,一个带集成电容器的片上 32.768 kHz 振荡器,一个为实时时钟(RTC)和日历提供源时钟的分频器,一个程序 Ammable 时钟输出、计时器、闹钟、低电压探测器和 400 kHz I2C 总线接口。
所有 16 个寄存器都被设计为可寻址的 8 位并行寄存器,尽管并非所有位都已实现。前两 个寄存器(内存地址 00h 和 01h)用作控制和/或状态寄存器。内存地址 02h 到 08h 用作 时钟函数的计数器(秒到年计数器)。地址位置 09h 至 0Ch 包含警报寄存器,该寄存器定 义了警报的条件。
地址 0Dh 控制 CLKOUT 输出频率。0Eh 和 0Fh 分别是 Timer_control 和 Timer 寄存器。 秒、分钟、小时、天、月、年以及 Minute_alarm、Hour_alarm 和 Day_alarm 寄存器都以 二进制编码十进制(BCD)格式编码。
当其中一个 RTC 寄存器被写入或读取时,所有时间计数器的内容都会被冻结。因此,可 以防止在携带条件下错误地书写或读取时钟和日历。



